Как технически осуществить подключение и просмотр IP камер?

Как построить, что использовать, почему не работает и т.п. Не знаете куда писать? Пишите сюда!
GenaSPB
Модератор
Сообщения: 11340
Зарегистрирован: 20 апр 2010, 11:33
Откуда: Санкт-Петербург
Контактная информация:

Re: Как технически осуществить подключение и просмотр IP кам

Сообщение GenaSPB » 24 янв 2018, 00:21

Если у каждого наблюдателя будет свой рег, то на нем и настроить только те камеры которые ему можно. Хотя все это на какой-то бред похоже. А так у хиквижн делал юзеру доступ только к определенным камерам.

igor81
Новичок
Сообщения: 8
Зарегистрирован: 23 янв 2018, 21:11

Re: Как технически осуществить подключение и просмотр IP кам

Сообщение igor81 » 24 янв 2018, 00:36

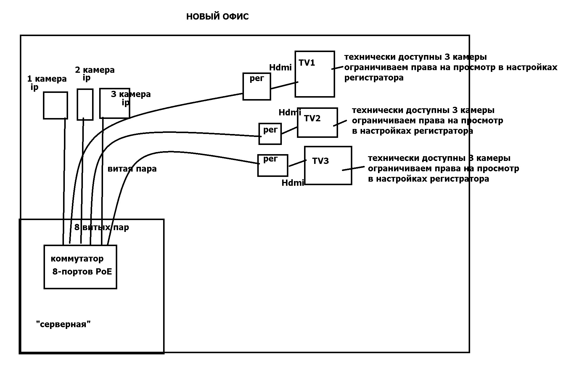
Прочитал все Ваши ответы. Показалось,что схему я изобразил не очень понятно. Попытаюсь несколько добавить и заодно спросить.
1)Как соединить камеры склада и офиса - вопрос второстепенный(услышал Ваши мнения - wifi, оптика, провайдер). Но сейчас нужно начать работы по установке камер в офисе. Поэтому больше заботит как будут соединены между собой камеры в офисе!
2) Современные телевизоры - это каприз директора. Поэтому приходиться выдумывать.
3)В моей схеме я рассчитывал, что к каждому видеорегистратору(у директора, у секретаря, у менеджера) подходит один единственный провод витая пара от коммутатора. Соответственно все три камеры могут быть физически просмотрены на каждом из видеорегистраторов. Однако в настройках видеорегистраторов сделать ограничение прав на просмотр определенных камер(админу доступны все камеры для просмотра, а определенным профилям - только определенные). Также можно?
4)Могут ли по моей схеме подключения одновременно и директор и секретарь каждый со своего телевизора смотреть одну и ту же камеру или нет? ( например камера №1). В онлайне и архиве.
5) Жесткие диски поставим на каждый из видеорегистраторов.
Попытался более четче нарисовать схему подключения устройств.
Вложения
12.jpg

Аватара пользователя
kROOT
Специалист
Сообщения: 13912
Зарегистрирован: 02 сен 2013, 14:25
Откуда: youcam.pro
Контактная информация:

Re: Как технически осуществить подключение и просмотр IP кам

Сообщение kROOT » 24 янв 2018, 07:38

После загрузки регистратора ХМ с портом 34567 до ввода пароля все показывается от прав пользователя default. Вот этому пользователю можно настроить права просмотра определенных камер, ну и после ввода пароля тоже можно определить, какие камеры показывать онлайн и архив. Как на регах других производителей, надо смотреть, но скорее всего будет тоже самое.
Только вот по поводу "Современные телевизоры" и VGA не понял, там ведь HDMI должен быть, он более качественно показывает.

Рустам
Специалист
Сообщения: 4026
Зарегистрирован: 10 май 2007, 06:59
Откуда: Челябинск

Re: Как технически осуществить подключение и просмотр IP кам

Сообщение Рустам » 24 янв 2018, 09:32

Формально регистратор NVR предназначен для записи изображений с IP-камер, а функция их отображения для него вторична. Так что с точки зрения красоты имеет смысл ставить один регистратор в серверной для записи и несколько компьютеров у пользователей для отображения.
Реально многие регистраторы NVR способны одновременно отображать В ЧЕТВЕРО меньше камер, чем они могут записывать, так уж они устроены ...

ITShef
Специалист
Сообщения: 129
Зарегистрирован: 24 дек 2017, 23:09

Re: Как технически осуществить подключение и просмотр IP кам

Сообщение ITShef » 24 янв 2018, 09:32

Dobryi писал(а):Просто не понятно как это все будет управляться ? И т.е. директор захотел просмотреть архив или онлайн видео с камеры которая не подключена к его регу? Можно сделать проще на аналоге
Легко, пишет 1 регистратор основной, ан другие регистраторы добавляются не камеры, а основной регистратор. А выводишь только нужные камеры, проостальные просто забываешь. На основном регистраторе делаешь аккаунты для каждого участника и указываешь, что ему можно смотреть,а что нет. Вот и все

ITShef
Специалист
Сообщения: 129
Зарегистрирован: 24 дек 2017, 23:09

Re: Как технически осуществить подключение и просмотр IP кам

Сообщение ITShef » 24 янв 2018, 09:35

Dobryi писал(а):Ну вообще обычно сотрудник к директору ходит, ну да ладно, я не понимаю как он запись с камер с другого склада увидеть , он же 2км
Да без проблем. я же написал, делаем Wifi мост между складом и офисом. Правильно настраиваем антенны и наслаждаемся.
Но для идеального решения нужно понимать географию. Может там вообще оптику кинуть можно, благо она сегодня от 4р за метр. 2км кинуть обварить - дело малое.

ITShef
Специалист
Сообщения: 129
Зарегистрирован: 24 дек 2017, 23:09

Re: Как технически осуществить подключение и просмотр IP кам

Сообщение ITShef » 24 янв 2018, 09:39

ALEX_SE писал(а):моноблоки вместо телеков и регов не дешевле будет? можно даже извратиться и поставить сенсорные.
Не дешевле, да и нормальные IP камеры как показала практика ппц как тормозят на моноблоках. Если говорить про тот же acer. Это просто слайдшоу и не шевельнуть мышкой и это всего-то при 4 камерах.

igor81
Новичок
Сообщения: 8
Зарегистрирован: 23 янв 2018, 21:11

Re: Как технически осуществить подключение и просмотр IP кам

Сообщение igor81 » 24 янв 2018, 10:42

ITShef писал(а):
Dobryi писал(а):Просто не понятно как это все будет управляться ? И т.е. директор захотел просмотреть архив или онлайн видео с камеры которая не подключена к его регу? Можно сделать проще на аналоге
Легко, пишет 1 регистратор основной, ан другие регистраторы добавляются не камеры, а основной регистратор. А выводишь только нужные камеры, проостальные просто забываешь. На основном регистраторе делаешь аккаунты для каждого участника и указываешь, что ему можно смотреть,а что нет. Вот и все
Скажите, видеорегистраторов всего купить понадобится 3 шт?
Где будет основной? Они же все три видеорегистратора выходят из одного коммутатора и получается будут равнозначные.
Или как это лучше сделать?
Нарисуйте,пожалуйста, тогда свою схему! На схеме понятнее.
Вложения
12.jpg

ITShef
Специалист
Сообщения: 129
Зарегистрирован: 24 дек 2017, 23:09

Re: Как технически осуществить подключение и просмотр IP кам

Сообщение ITShef » 24 янв 2018, 11:11

igor81 писал(а):
ITShef писал(а): Скажите, видеорегистраторов всего купить понадобится 3 шт?

Ну у вас 3 точки мониторинга - можно сделать 3 регистратора, можно 4 и этот 4 сделать основным как раз. Это не важно, все зависит от полета души и фантазий и кошелька. Но минимум по числу телевизоров придется брать.
Где будет основной?
Можно определить к примеру директорский. Он же директор, вот и будет основным.
Они же все три видеорегистратора выходят из одного коммутатора и получается будут равнозначные. Или как это лучше сделать?
Не, выходя из одного коммутатора это указывает на то, что они физически находятся в одной сети. Главность или второстепенность определяется лишь настройками. На регистратор директора добавьте все камеры и пропишите всех пользователей, на остальные - добавляйте директорский регистратор как многоканальное устройство. В качестве логина и пароля используйте те, которые вы пропишите на директорском. Это если делать единственный пункт управления.
Нарисуйте,пожалуйста, тогда свою схему! На схеме понятнее.
Схема тут как раз не меняется никак. все остается прежним. Регламентируется только настройками

ЗЫ: Главный момент, регистратор должен поддерживтаь возможность добавления других регистраторов как IP устройств. Дахуа, Хики ранее умели, многие китайцы - не умеют.

igor81
Новичок
Сообщения: 8
Зарегистрирован: 23 янв 2018, 21:11

Re: Как технически осуществить подключение и просмотр IP кам

Сообщение igor81 » 24 янв 2018, 11:44

ITShef, теперь Вас понял!
Скажите ещё такой момент, жесткий диск по Вашему варианту следует брать только на основной видеорегистратор-директора? Или брать жесткие диски на каждый рег?
Напомню, каждый из сотрудников должен смотреть помимо онлайн просмотра ещё и записи с камер!
Видеорегистраторы и IP-камеры будем брать фирмы - polyvision. ( поскольку такие же установлены на удаленном складе). Они поддерживают возможность добавления других регов как IP устройств? Не в курсе?
И вообще, принципиально ли будет покупка IP-камер и видеорегов, например другого производителя?(отличного от тех, которые стоят на удаленном складе).Сможем ли мы их потом соединить удаленно склад с офисом? Кстати, скорее всего как и рекомендовали здесь на форуме будет связь с удаленным складом по wifi.

GenaSPB
Модератор
Сообщения: 11340
Зарегистрирован: 20 апр 2010, 11:33
Откуда: Санкт-Петербург
Контактная информация:

Re: Как технически осуществить подключение и просмотр IP кам

Сообщение GenaSPB » 24 янв 2018, 20:25

igor81 писал(а):Видеорегистраторы и IP-камеры будем брать фирмы - polyvision.
Поливижн это сборная солянка из разного железа в основном ХМ. Они поддерживают. Но не подкалитесь с выбором.
igor81 писал(а):брать жесткие диски на каждый рег?
Да.

igor81
Новичок
Сообщения: 8
Зарегистрирован: 23 янв 2018, 21:11

Re: Как технически осуществить подключение и просмотр IP кам

Сообщение igor81 » 24 янв 2018, 23:20

Подскажите ещё такой момент. Сегодня определили невозможность обеспечения связи между складом и офисом по wifi из-за препятствий(многоэтажки мешают). Решили обратиться к провайдеру для организации канала связи.
Вопрос касается настройки между собой видеорегистраторов с камерами со склада и видеорегистраторами и камерами в новом офисе. Фирмы, модель регов со склада и новых в офисе абсолютно одинаковые. Каков порядок настройки их для совместного использования?

Ответить

Вернуться в «Общие вопросы по видеонаблюдению»