Можно ли проапгрейдить купольную PTZ ?

Все вопросы по IP камерам, IP серверам и по программному обеспечению для IP видеонаблюдения.
VitoTLT
Специалист
Сообщения: 837
Зарегистрирован: 30 ноя 2016, 21:13
Откуда: Тольятти

Re: Можно ли проапгрейдить купольную PTZ ?

Сообщение VitoTLT » 28 ноя 2019, 22:40

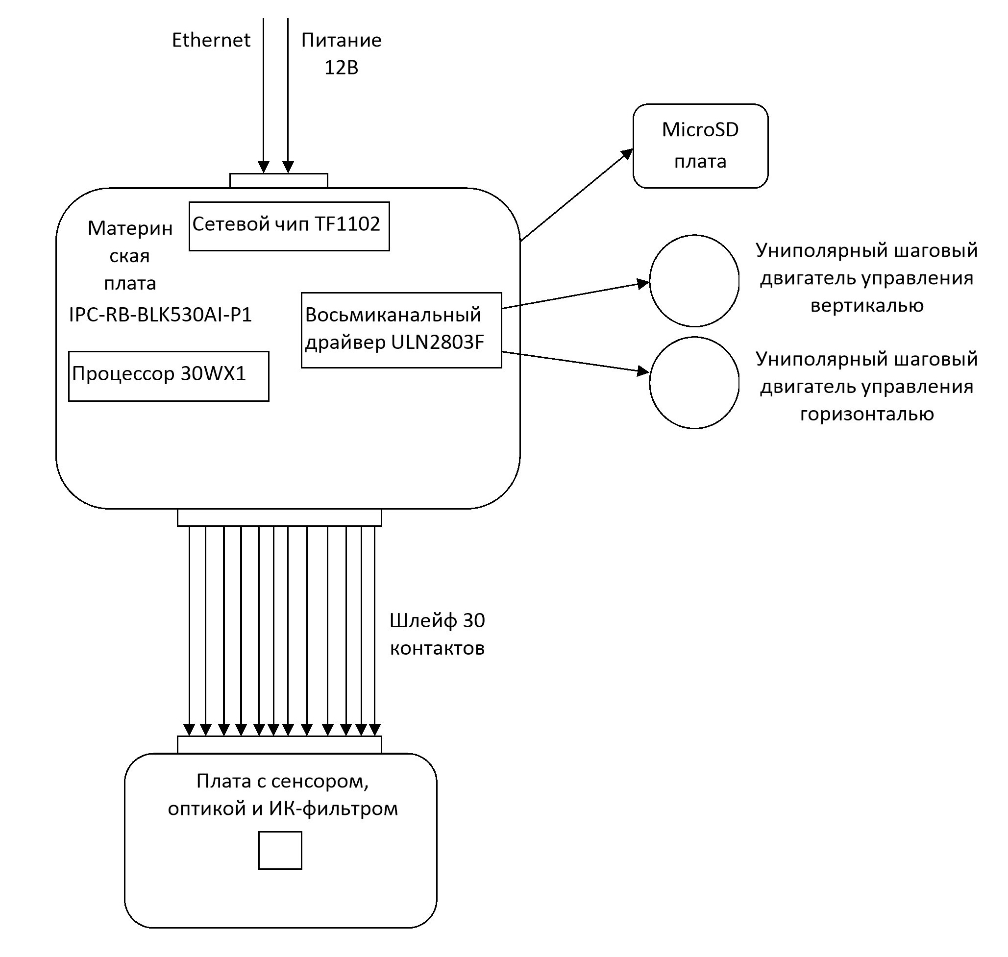
Мои опасения оправдались. Из Mainboard идёт 30-контактный шлейф на плату с сенсором. По шлейфу идут лишь сигналы с сенсора, на ИК-фильтр и фотодатчик освещённости.
IMG_20191128_233210.jpg

VitoTLT
Специалист
Сообщения: 837
Зарегистрирован: 30 ноя 2016, 21:13
Откуда: Тольятти

Re: Можно ли проапгрейдить купольную PTZ ?

Сообщение VitoTLT » 28 ноя 2019, 23:32

В общем всё печально получается. Для управления униполярными шаговыми двигателями Pan-Tilt используется восьмиканальный драйвер ULN2803F, распаянный на материнской плате вместе с процессором. Каким образом они общаются - одному богу известно...
Но факт в том, что для того, чтобы управлять шаговыми двигателями с более продвинутого по оптической части модуля - у него должен быть либо восьмиканальный драйвер на борту с прошивкой PTZ, либо лепить какой-то конвертер на ардуино, который будет конвертировать PELCO по RS485 на внешний драйвер... Но при этом, опять же, на модуле должны быть прошивкой заложены выводы PELCO сигналов на RS485.
PTZ.jpg

Legos
Специалист
Сообщения: 566
Зарегистрирован: 03 ноя 2019, 03:34

Re: Можно ли проапгрейдить купольную PTZ ?

Сообщение Legos » 11 дек 2019, 10:08

Legos писал(а):
11 ноя 2019, 15:49
Фото
Пришла и моя камера для разборок.
Разобрано, управляется по RS485 поворот и вверх/вниз с полностью вынутом модуле на ИМХ 307. Есть косяк, без коаксиального подсоединения управляется по RS485 недолго, в том смысле, вначале как включаешь повороты четкие, потом прерывистые, потом тишина, подсоединяешь коаксиал к регу, все поворачивается как по коаксиальному так и по RS485 четко и без косяков (модуль вынут).
Пока, как то так.

p.s. разобрал (отсоединил модуль от объектива), убедился что стоит реальный ИМХ 307 зеленый, это те которые без драг металлов. Есть для сравнения модули ИМХ 307 не зеленые с драг металлами, ранее видел описание что они по качеству одинаковые, врут, зеленые дрянь по отношению к не зеленым, у зеленых картинка зерно да и рядом не стоят они по качеству с драг металльными ИМХ, ни днем ни ночью. Разочарован в зеленых ИМХ 307.

VitoTLT
Специалист
Сообщения: 837
Зарегистрирован: 30 ноя 2016, 21:13
Откуда: Тольятти

Re: Можно ли проапгрейдить купольную PTZ ?

Сообщение VitoTLT » 11 дек 2019, 18:32

Legos
Так у вас же вроде бы AHD PTZ камера? Там всё попроще :(
А вот как в IP-камере управлять PTZ - большой вопрос... Нужен драйвер, который понимает Pelco по RS485...

Legos
Специалист
Сообщения: 566
Зарегистрирован: 03 ноя 2019, 03:34

Re: Можно ли проапгрейдить купольную PTZ ?

Сообщение Legos » 22 дек 2019, 18:47

VitoTLT писал(а):
11 дек 2019, 18:32
Legos
Так у вас же вроде бы AHD PTZ камера? Там всё попроще :(
А вот как в IP-камере управлять PTZ - большой вопрос... Нужен драйвер, который понимает Pelco по RS485...
Вообщем обкурил я купольную и так и этак, оставил ее в покое, запихнул имх291 https://aliexpress.ru/item/32987189084. ... b7b3d1b728в старый корпус от камеры под варифокальный объектив(см.фото), поставил пока на крышу, наслаждаюсь приближением поля, картинка днем и до сумерек- огоннь, жду поворотку https://aliexpress.ru/item/32513597142. ... b201603_53.

VitoTLT
Специалист
Сообщения: 837
Зарегистрирован: 30 ноя 2016, 21:13
Откуда: Тольятти

Re: Можно ли проапгрейдить купольную PTZ ?

Сообщение VitoTLT » 22 дек 2019, 22:19

Legos писал(а):
22 дек 2019, 18:47
Вообщем обкурил я купольную и так и этак, оставил ее в покое, запихнул имх291 в старый корпус от камеры под варифокальный объектив(см.фото), поставил пока на крышу, наслаждаюсь приближением поля, картинка днем и до сумерек- огоннь,
Был у меня такой модуль (точнее до сих пор есть). Сгорел из-за перегрева. В нём крайне горячий чип 3516D. А вот ночью от imx291 в нём толку мало. Так как объектив там устаревший от аналоговой камеры. И не светосильный ни разу. Все прелести Imx291 можно получить только вкупе со светосильным объектиовм. А они все фиксы...
Legos писал(а):
22 дек 2019, 18:47
жду поворотку https://aliexpress.ru/item/32513597142. ... b201603_53.
А вот это мысль. В таком поворотном кронштейне расположены моторы и драйвер управления ими со входом RS485. Когда получите кронштейн - разберите пожалуйста. Интересно посмотреть там движки биполярные или однополярные. Вполне возможно такой кронштейн можно использовать как донор для куполки. Подсоединить к моторам куполки драйвер от этого кронштейна, а драйвер к любому модулю по RS485.

Legos
Специалист
Сообщения: 566
Зарегистрирован: 03 ноя 2019, 03:34

Re: Можно ли проапгрейдить купольную PTZ ?

Сообщение Legos » 22 дек 2019, 22:35

VitoTLT писал(а):
22 дек 2019, 22:19
В нём крайне горячий чип 3516D.
А вот это мысль. В таком поворотном кронштейне расположены моторы и драйвер управления ими со входом RS485. Когда получите кронштейн - разберите пожалуйста.
На чип уже радиатор приклеил, все что купил, все облепил радиаторами).

Поворотку разберу, сфоткаю, выложу.

p.s. ИМХ291Х30 куплена для дневного света, присмотра за животными пасущимися на поле ).

Legos
Специалист
Сообщения: 566
Зарегистрирован: 03 ноя 2019, 03:34

Re: Можно ли проапгрейдить купольную PTZ ?

Сообщение Legos » 18 янв 2020, 07:35

Дождался наконец-то ) поворотку.
Разобрал, два движка, на движки идет по четыре провода от платки (фото), в сам отсек с двигателями не полез, там фиксатор на пластмассе, не стал лишний раз рисковать на тему сломать.

Поставил камеру что выше на фотках на кронштейн, на платку в кронштейн запихнул селикогель, сам кронштейн на удивление довольно солидный- массивный, думал хрень какая либо будет хрупкая. Самая выгодная цена на кронштейн у юмики- https://aliexpress.ru/item/32513597142. ... 33edhGhKtk

Уже поставил на крышу, крутится по 485 порту пультом, удобно, пока все ОК.
P.S. у самой камеры есть возможность прямо к ней подсоединить данный кронштейн, мне так не удобно, так к сведению.

VitoTLT
Специалист
Сообщения: 837
Зарегистрирован: 30 ноя 2016, 21:13
Откуда: Тольятти

Re: Можно ли проапгрейдить купольную PTZ ?

Сообщение VitoTLT » 18 янв 2020, 10:07

Legos
Спасибо большое за фотоотчёт.
Я так понял, что в этом кронштейне биполярные шаговые двигатели, а в куполке униполярные шаговые двигатели. А значит совместить их проблематично :( Если только выковыривать двигатели из кронштейна и колхозить их в куполку...

Legos
Специалист
Сообщения: 566
Зарегистрирован: 03 ноя 2019, 03:34

Re: Можно ли проапгрейдить купольную PTZ ?

Сообщение Legos » 18 янв 2020, 12:15

VitoTLT писал(а):
18 янв 2020, 10:07
Legos
Спасибо большое за фотоотчёт.
Я так понял, что в этом кронштейне биполярные шаговые двигатели, а в куполке униполярные шаговые двигатели. А значит совместить их проблематично :( Если только выковыривать двигатели из кронштейна и колхозить их в куполку...
Слабый фотоотчет ), побоялся фиксатор снимать, на нем вся голова держится (фото фиксатора).
А как определили, униполярные в куполке потому что к ним идет 5 а не 4 проводов ?

slog2
Специалист
Сообщения: 170
Зарегистрирован: 05 ноя 2019, 16:56

Re: Можно ли проапгрейдить купольную PTZ ?

Сообщение slog2 » 18 янв 2020, 16:31

Legos писал(а):
11 дек 2019, 10:08
p.s. разобрал (отсоединил модуль от объектива), убедился что стоит реальный ИМХ 307 зеленый, это те которые без драг металлов. Есть для сравнения модули ИМХ 307 не зеленые с драг металлами, ранее видел описание что они по качеству одинаковые, врут, зеленые дрянь по отношению к не зеленым, у зеленых картинка зерно да и рядом не стоят они по качеству с драг металльными ИМХ, ни днем ни ночью. Разочарован в зеленых ИМХ 307.
Откуда такая информация про драгметаллы?
IMX307 бывает в двух корпусах LGA и BGA. Зелёный это маска на текстолите, коричневый это керамический корпус. Кристалл одинаковый, делает его только Sony, а разваривать в корпуса могут и китайцы. Золото там если и есть, то проволочка от кристалла до корпуса на качество никак не влияет.
Встречал у китайцев вроде SC307, впаривают как камеры на 307й матрице. Может тут собака порылась.

slog2
Специалист
Сообщения: 170
Зарегистрирован: 05 ноя 2019, 16:56

Re: Можно ли проапгрейдить купольную PTZ ?

Сообщение slog2 » 18 янв 2020, 16:37

Legos писал(а):
18 янв 2020, 07:35
Дождался наконец-то ) поворотку.
Разобрал, два движка, на движки идет по четыре провода от платки (фото)
А что там за микросхема на 24 ноги? С обратной стороны платы есть детали? Не вижу драйверов ШД.
Думаю купить такой же.

Ответить

Вернуться в «IP видеонаблюдение»