Посоветуйте систему определения присутствия человека в помещении.

Вопросы, связаные с охранно-пожарной сигнализацией, пожаротушением и прочие технические вопросы, не связаные с видеонаблюдением.
reanimatorlash
Специалист
Сообщения: 512
Зарегистрирован: 24 июн 2020, 13:46

Re: Посоветуйте систему определения присутствия человека в помещении.

Сообщение reanimatorlash » 27 окт 2025, 10:07

Рустам писал(а):
27 окт 2025, 09:12
Это уже Маниловщина, а не тиражируемое решение ...
если потребуется, то теражируемое решение гораздо проще обойти, нежели штучное, кустарно радио любительское решение, поскольку такие кустарные решения обычно содержат маразматическую избыточность.

Iskra
Постоянный посетитель
Сообщения: 53
Зарегистрирован: 06 сен 2024, 15:30

Re: Посоветуйте систему определения присутствия человека в помещении.

Сообщение Iskra » 27 окт 2025, 14:52

VitoTLT писал(а):
27 окт 2025, 08:53
Iskra писал(а):
25 окт 2025, 15:09
А что насчет "Извещатель охранный объемный ультразвуковой" ?
Все извещатели, которые я встречал у наших отечественных производителей, работают по следующему принципу:
Срабатывют на движение, а затем уходять в защиту на определенное время, чтобы избежать ложных сигналов тревоги.
Да, но я о другом - человеческое тело поглощает УЗ. Датчик настраивается на пустом помещении, и если внутри оявляется постороннее тело оно поглощает ультразвук, изменяет "картину" отражений от стен что приводит к срабатыванию.
Пока тело находится внутри, даже неподвижное, на выходе датчика состояние "тревога".
Человек вышел - состояние вернулось в норму, через N минут.

Могут быть ложные срабатывания на открытое окно или передвинутую мебель, но какие окна и мебель в туалете? Это не жилая комната, не рабочий кабинет - всё стационарно прикручено к полу и стенам.

VitoTLT
Специалист
Сообщения: 845
Зарегистрирован: 30 ноя 2016, 21:13
Откуда: Тольятти

Re: Посоветуйте систему определения присутствия человека в помещении.

Сообщение VitoTLT » 27 окт 2025, 16:31

Iskra писал(а):
27 окт 2025, 14:52
Да, но я о другом - человеческое тело поглощает УЗ. Датчик настраивается на пустом помещении, и если внутри оявляется постороннее тело оно поглощает ультразвук, изменяет "картину" отражений от стен что приводит к срабатыванию.
Пока тело находится внутри, даже неподвижное, на выходе датчика состояние "тревога".
Человек вышел - состояние вернулось в норму, через N минут.
Так я вам как раз об этом и говорю :) Что датчиков УЗ, которые постоянно передают состояние "тревога", пока нарушитель находится внутри, не существует :) (или о них не сообщают производители)
Все датчики срабатывают а потом уходят в защиту на определённый период (обычно 10-30-60 секунд).

Iskra
Постоянный посетитель
Сообщения: 53
Зарегистрирован: 06 сен 2024, 15:30

Re: Посоветуйте систему определения присутствия человека в помещении.

Сообщение Iskra » 27 окт 2025, 21:10

VitoTLT писал(а):
27 окт 2025, 16:31
Iskra писал(а):
27 окт 2025, 14:52
Да, но я о другом - человеческое тело поглощает УЗ. Датчик настраивается на пустом помещении, и если внутри оявляется постороннее тело оно поглощает ультразвук, изменяет "картину" отражений от стен что приводит к срабатыванию.
Пока тело находится внутри, даже неподвижное, на выходе датчика состояние "тревога".
Человек вышел - состояние вернулось в норму, через N минут.
Так я вам как раз об этом и говорю :) Что датчиков УЗ, которые постоянно передают состояние "тревога", пока нарушитель находится внутри, не существует :) (или о них не сообщают производители)
Все датчики срабатывают а потом уходят в защиту на определённый период (обычно 10-30-60 секунд).
В чем проблема на выход датчика повесить модуль таймера-одновибратора на (на определённый период (обычно 10-30-60 секунд) + 5 секунд.?
каждое срабатывание датчика перезапускает одновибратор и он держит выход активным - подсвечивает табличку "ЗАНЯТО".

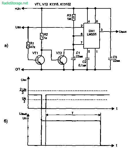
Рис. 5.63. Формирователь одиночного импульса с перезапуском по входу
Литература: Радиолюбителям: полезные схемы, Книга 5. Шелестов И.П.
b5-144.png
b5-144.png (7.75 КБ) 662 просмотра
Выходной ток NE-555 может достигать 200 мА, потребляемый - на 3- 6 мА больше.
Напряжение питания может изменяться от 4,5 до 18 вольт.
При этом точность таймера практически не зависит от изменения напряжения питания и составляет 1% от расчетного.
Дрейф составляет 0,1%/вольт, а температурный дрейф - 0,005%/С.

Рустам
Специалист
Сообщения: 4006
Зарегистрирован: 10 май 2007, 06:59
Откуда: Челябинск

Re: Посоветуйте систему определения присутствия человека в помещении.

Сообщение Рустам » 28 окт 2025, 12:39

Iskra писал(а):
27 окт 2025, 14:52
Да, но я о другом - человеческое тело поглощает УЗ. Датчик настраивается на пустом помещении, и если внутри оявляется постороннее тело оно поглощает ультразвук, изменяет "картину" отражений от стен что приводит к срабатыванию.
Пока тело находится внутри, даже неподвижное, на выходе датчика состояние "тревога".
Человек вышел - состояние вернулось в норму, через N минут.

Могут быть ложные срабатывания на открытое окно или передвинутую мебель, но какие окна и мебель в туалете? Это не жилая комната, не рабочий кабинет - всё стационарно прикручено к полу и стенам.
Все известные мне "Извещатели охранные объемные ультразвуковые" срабатывают на движение, то есть на быстрое изменение картины отражений, а не на отличие картины отражения от эталонной. Как описано, работают УЗ датчики уровнемеров, но они не объёмные, а линейные.
Сначала надо Вам найти конкретную модель объёмного датчика, который работает именно как Вы описали, а не на движение ...

VitoTLT
Специалист
Сообщения: 845
Зарегистрирован: 30 ноя 2016, 21:13
Откуда: Тольятти

Re: Посоветуйте систему определения присутствия человека в помещении.

Сообщение VitoTLT » 28 окт 2025, 13:37

Iskra писал(а):
27 окт 2025, 21:10
В чем проблема на выход датчика повесить модуль таймера-одновибратора на (на определённый период (обычно 10-30-60 секунд) + 5 секунд.?
каждое срабатывание датчика перезапускает одновибратор и он держит выход активным - подсвечивает табличку "ЗАНЯТО".
Проблема в том, что за время таймера одновибратора может один человек выйти, другой зайти, или может зайти и сразу выйти... Человеческая природа непредсказуема :)

Iskra
Постоянный посетитель
Сообщения: 53
Зарегистрирован: 06 сен 2024, 15:30

Re: Посоветуйте систему определения присутствия человека в помещении.

Сообщение Iskra » 28 окт 2025, 13:46

Рустам писал(а):
28 окт 2025, 12:39
Все известные мне "Извещатели охранные объемные ультразвуковые" срабатывают на движение, то есть на быстрое изменение картины отражений, а не на отличие картины отражения от эталонной. Как описано, работают УЗ датчики уровнемеров, но они не объёмные, а линейные.
Сначала надо Вам найти конкретную модель объёмного датчика, который работает именно как Вы описали, а не на движение ...
В обычных туалетных комнатах, помещениях небольшого размера, линейный датчик автоматически превращается в объемный.

В автомобильных сигнализациях раньше использовались как датчики объема салона, не ставились на охрану если под задним стеклом забывали шапку.

Рустам
Специалист
Сообщения: 4006
Зарегистрирован: 10 май 2007, 06:59
Откуда: Челябинск

Re: Посоветуйте систему определения присутствия человека в помещении.

Сообщение Рустам » 29 окт 2025, 09:29

Iskra писал(а):
28 окт 2025, 13:46
В обычных туалетных комнатах, помещениях небольшого размера, линейный датчик автоматически превращается в объемный.
Сомневаюсь. :smile:
На месте автора топика я бы не верил на слово, а как минимум попробовал бы проверить на какой-то конкретной модели ...

Iskra
Постоянный посетитель
Сообщения: 53
Зарегистрирован: 06 сен 2024, 15:30

Re: Посоветуйте систему определения присутствия человека в помещении.

Сообщение Iskra » 29 окт 2025, 09:40

Рустам писал(а):
29 окт 2025, 09:29
Iskra писал(а):
28 окт 2025, 13:46
В обычных туалетных комнатах, помещениях небольшого размера, линейный датчик автоматически превращается в объемный.
Сомневаюсь. :smile:
На месте автора топика я бы не верил на слово, а как минимум попробовал бы проверить на какой-то конкретной модели ...
Конечно, всё нужно проверять для конкретных условий. Может быть там стены "ватой обиты" и никакой.УЗ датчик работать не будет никак.
Или как LD-24xx микроволновые радары - помеху по питанию ловит и "не работает"

VitoTLT
Специалист
Сообщения: 845
Зарегистрирован: 30 ноя 2016, 21:13
Откуда: Тольятти

Re: Посоветуйте систему определения присутствия человека в помещении.

Сообщение VitoTLT » 30 окт 2025, 10:42

C LD2402 и LD2410 вылезли проблемы. Я получаю от них данные по UART, где с интервалом в несколько милисекунд подаётся расстояние до преграды. И даже в маленькой туалетной комнате 1,2 на 1,2 метра с LD2402 под потолком я получаю плавающие данные в абсолютно пустой комнате. Например датчик может показывать 150см, а через пять минут будет постоянно показывать 230см. Изначально я планировал, что датчик откалибруется под помещение (есть у него такая фича при запуске) и будет в пустом помещении слать значения типа distance:270 , а как только человек заходит в помещение - эти значения будут колебаться в диапазоне от 100 до 220 (в зависимости от того, стоит человек или сидит на унитазе). Таким образом я пишу скрипт на питоне, который выдаёт на GPIO сигнал в случае если значения становятся меньше 270 (или 260 или 250, в зависимости от помещения). Однако в ходе онлайн наблюдения я вижу, что значения LD2402 постоянно скачут в неразумных пределах даже в пустом помещении без присутствия людей в смежных помещениях. Далее я купил и установил LD2410, но у него оказалась такая же беда. Однако у него хотя-бы есть конфигурационный софт по калибровке положений. Но как бы я не бился с конфигурационными настройками, даже с самым загрублённым значением чувствительности по всем зонам - LD2410 "плавает" в своих значениях в пустом помещении в диапазоне +-1 метр... В общем баловство это всё с этими LD24xx датчиками.

Сейчас я приобрёл новый датчик и мучаю её в туалете. Это Moes ZSS-LPHP02-MS. Пока его подключил через Tuta Gateway по Zigbee и он показывает в приложении на телефоне замечательные результаты. И неподвижную цель и подвижную - определяет стабильно. Но это в приложении Smart Life и через китайское облако... А мне то нужно локальное применение. Я зарегистрировался как разработчик Tuya, подключил свой аккаунт с датчиком и шлюзом к среде разработки и получил ID-шлюза и Secret Key шлюза. Далее, зная IP-адрес, ID-шлюза и Secret Key я установил интеграцию tinytuya в Raspberry и задал подключение по стандартному порту Tuya: 6668 с этими данными (порт шлюза заранее проверил - он открыт). Однако Tuya Gateway отверг мои попытки соединиться с ним из локальной сети. Не смотря на то, что у меня есть и ID и Secret Key. Судя по всему заточен он всё-таки на коннект с облаком tuya.

Тогда я пошёл дальше, и установил Sonoff Zigbee 3.0 Stick в Raspberry и начал устанавливать Zigbee2MQTT мост, чтобы напрямую получать статус с датчика по протоколу Zigbee, но тут уже начал мой Raspberry Pi Zero 2 сходить с ума, так как вся эта движуха не вписывается даже в 2гб swap-памяти (встроенной памяти всего 512мб)... Вот так и развлекаемся :(

GenaSPB
Модератор
Сообщения: 11302
Зарегистрирован: 20 апр 2010, 11:33
Откуда: Санкт-Петербург
Контактная информация:

Re: Посоветуйте систему определения присутствия человека в помещении.

Сообщение GenaSPB » 30 окт 2025, 13:34

Мда, защелка на двери рулит и стоит копейки. :smile: В сети есть проекты по локальному умному дому, там есть прошивки на многие устройства, для отвязки от облака. Может и на этот Moes ZSS-LPHP02-MS найдется?

Рустам
Специалист
Сообщения: 4006
Зарегистрирован: 10 май 2007, 06:59
Откуда: Челябинск

Re: Посоветуйте систему определения присутствия человека в помещении.

Сообщение Рустам » 30 окт 2025, 13:44

VitoTLT писал(а):
30 окт 2025, 10:42
C LD2402 и LD2410 вылезли проблемы. Я получаю от них данные по UART, где с интервалом в несколько милисекунд подаётся расстояние до преграды. И даже в маленькой туалетной комнате 1,2 на 1,2 метра с LD2402 под потолком я получаю плавающие данные в абсолютно пустой комнате. Например датчик может показывать 150см, а через пять минут будет постоянно показывать 230см.
Уровнемеры штатно работают в тепличных условиях - совершенно пустое пространство до жидкости, ровная зеркальная поверхность жидкости во всю ширь угла обзора датчика, отражающая звук. Отклик ультразвука имеет один-единственный пик, причём высокий по амплитуде. Линейная логика.
В туалете человек отражающий звук может быть ниже других отражающих объектов (поручней, умывальника), он небольшой по площади в поле зрения, отражает звук плохо, и если в шубе, то отражает не как зеркальная поверхность жидкости, а как ворох шерсти. Объёмная логика.
Датчик может в случайном порядке принимать за дальность то расстояние до головы человека, то до плеч, то до крышки унитаза, то до пола. Да ещё и небольшое смещение места расположения датчика может всю картину поменять.
И с получением хоть какого-то результата проблемы, и потом с воспроизводимостью результата могут быть проблемы, и с присевшим на корточки человеком могут быть проблемы.
Может вариант решения - всё таки датчик веса. Пол туалета поставить на пружины, унитаз, поручни и умывальник прикрепить к полу, к полу поставить датчик срабатывающий при появлении в комнате веса свыше 20кг.

Ответить

Вернуться в «Охранные и пожарные сигнализации, пожаротушение и т.п.»